| Наименование | Обозначение /(№ изм. КД) | Примечание |
|---|---|---|
| Рабочий узел | РУ-18 00 00 00.000 | Необслуживаемый узел |
| № пп | Обозначение /(№ изм. КД) | Наименование |
Кол-во |
|---|---|---|---|
|
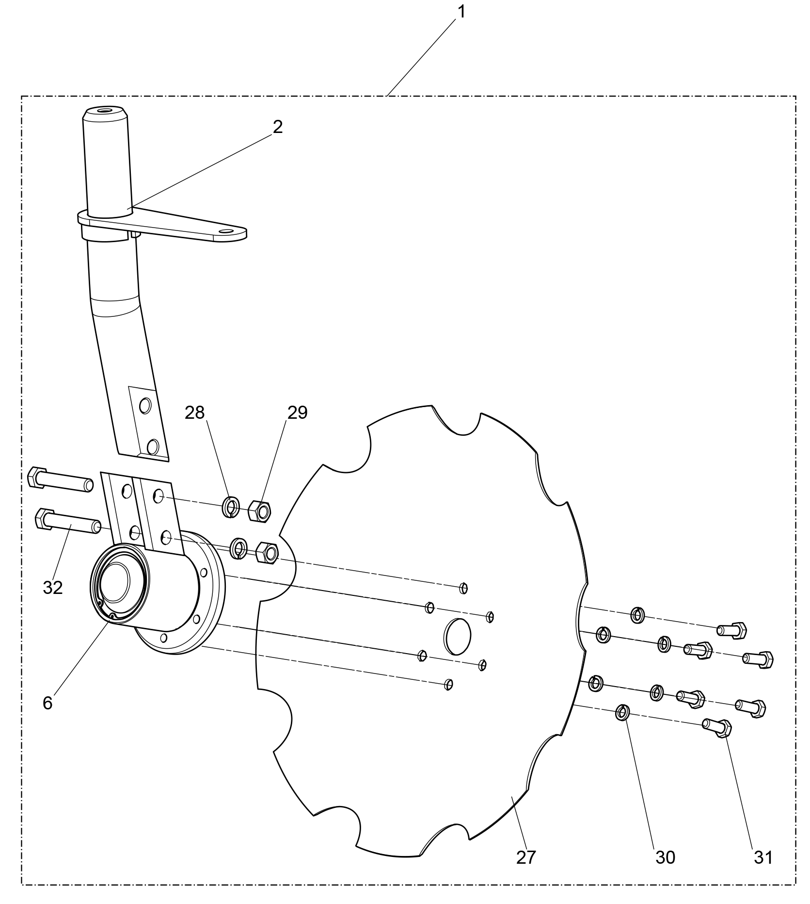
1 |
РУ-18 00 00 00.000 |
Рабочий узел |
1 |
|
2 |
РУ-26 02 00 00.000 |
Стойка сварная |
1 |
|
6 |
ПУ-9 00 00 00.000 |
Подшипниковый узел |
1 |
|
27 |
1905/22/50-01-12-00 |
Диск 560х5 (Bellota) |
1 |
|
28 |
ГОСТ 6402-70 |
Шайба 16Т 65Г 016 |
2 |
|
29 |
ГОСТ 5915-70 |
Гайка М16-6H.6.016 |
2 |
|
30 |
ГОСТ 6402-70 |
Шайба 12Т 65Г 016 |
6 |
|
31 |
ГОСТ 7798-70 |
Болт М12-6gх30.88.016 |
6 |
|
32 |
ГОСТ 7798-70 |
Болт М16-6gх85.88.016 |
2 |
| Наименование | Обозначение /(№ изм. КД) | Примечание |
|---|---|---|
| Подшипниковый узел | ПУ-9 00 00 00.000 |
| № пп | Обозначение /(№ изм. КД) | Наименование |
Кол-во |
|---|---|---|---|
|
1 |
ПУ-9 00 00 00.000 |
Подшипниковый узел |
1 |
|
2 |
ПУ-9 01 00 00.000 |
Корпус сварной |
1 |
|
5 |
ПУ-8 00 00 00.001 |
Ось диска |
1 |
|
6 |
6У-537909К1С17 |
Подшипник 49х84х43 |
1 |
|
12 |
Ш-1-43х66х5,01 |
Шайба |
1 |
|
13 |
М42-1,5х20.01 |
Гайка |
1 |
|
14 |
ПУ-9 00 00 00.001 |
Крышка |
1 |
|
15 |
2.2-60х85-1 ГОСТ 8752-79 |
Манжета |
1 |
|
19 |
ПУ-8 00 00 00.002 |
Кольцо защитное |
1 |
|
20 |
А90 ГОСТ 13943-86 |
Кольцо |
1 |
|
21 |
А85 ГОСТ 13943-86 |
Кольцо |
1 |



