| Наименование | Обозначение /(№ изм. КД) | Примечание |
|---|---|---|
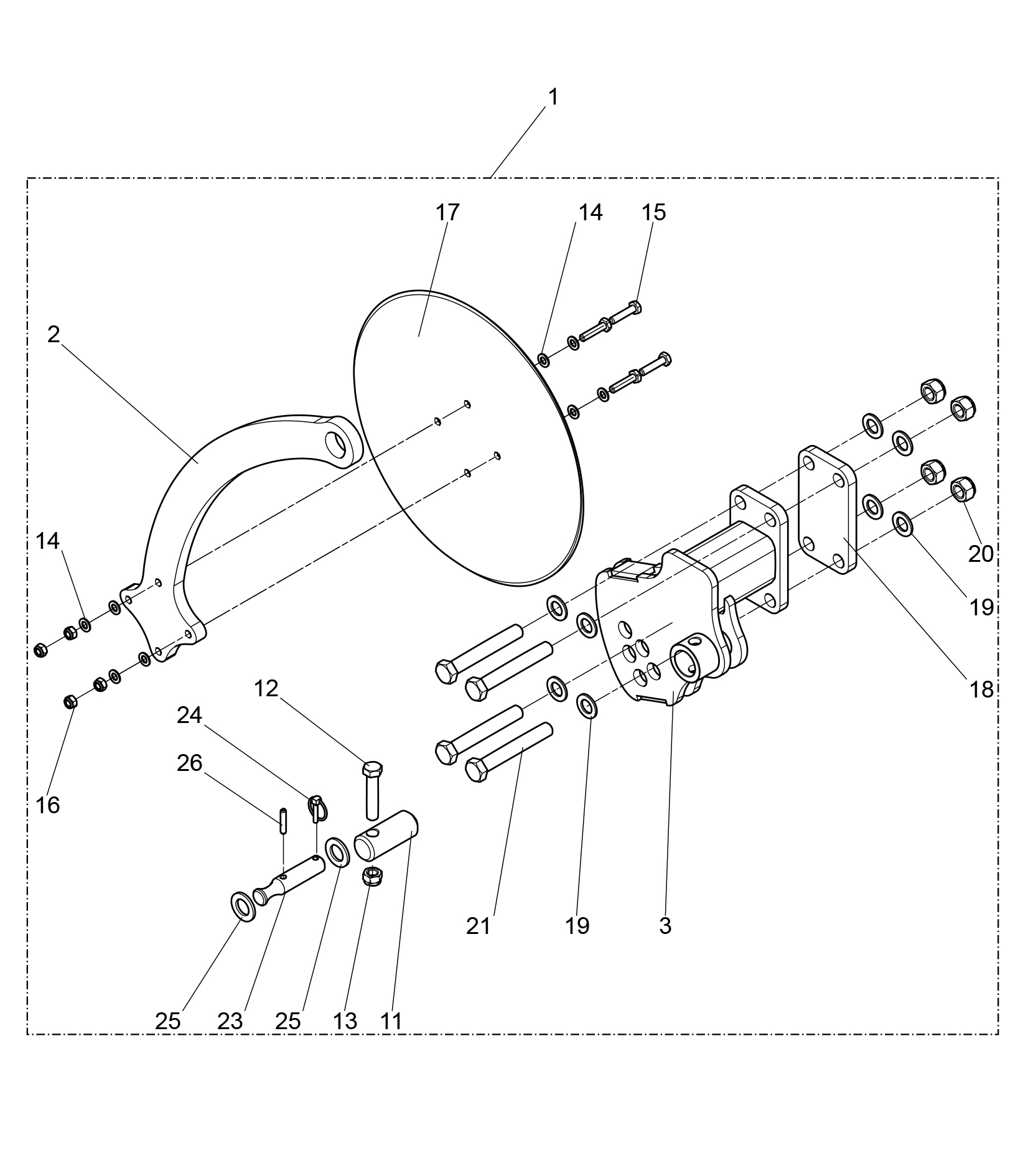
| Отбойник почвы | ОТП-3 00 00 00.000 |
| № пп | Обозначение /(№ изм. КД) | Наименование |
Кол-во |
|---|---|---|---|
|
1 |
ОПТ-3 00 00 00.000 |
Отбойник почвы |
1 |
|
2 |
ОПТ-3 00 00 00.002 |
Стойка |
1 |
|
3 |
ОПТ-3 01 00 00.000 |
Кронштейн отбойника |
1 |
|
10 |
ОС-1-40х97х77 00.000 |
Ось в сборе |
1 |
|
11 |
ОС-1-40х97х77.001 |
Ось |
1 |
|
12 |
ГОСТ 7798-70 |
Болт М16-6gх80.129.35.016 |
1 |
|
13 |
DIN 985 |
Гайка М16.10.016 |
1 |
|
14 |
ГОСТ 11371-78 |
Шайба С.10.05.016 |
8 |
|
15 |
ГОСТ 7798-70 |
Болт М10-6gх45.109.35.016 |
4 |
|
16 |
DIN 985 |
Гайка М10/8/016 |
4 |
|
17 |
ОПТ-3 00 00 00.001 |
Диск |
1 |
|
18 |
ФЛ-60х141 00.001 |
Фланец |
1 |
|
19 |
ГОСТ 11371-78 |
Шайба С.20.05.016 |
8 |
|
20 |
DIN 985 |
Гайка М20.8.016 |
4 |
|
21 |
Гост 7798-70 |
Болт М20-6gх140.109.35.016 |
4 |
|
22 |
П-2-25х125х50 01.000 |
Палец в сборе |
1 |
|
23 |
П-2-25х125х65.001 |
Палец |
1 |
|
24 |
DIN 11023 |
Шплинт 6х32 |
1 |
|
25 |
ГОСТ 11371-78 |
Шайба С.24.05.016 |
2 |
|
26 |
ГОСТ 14229-93 |
Штифт А.8х40 |
1 |



