| Наименование | Обозначение /(№ изм. КД) | Примечание |
|---|---|---|
| Рабочий узел РУ-53 | РУ-53 00 00 00.000 К | с март 2020г. по настоящее время |
| № пп | Обозначение /(№ изм. КД) | Наименование |
Кол-во |
|---|---|---|---|
|
1 |
РУ-53 00 00 00.000 К |
Рабочий узел |
1 |
|
2 |
БП-53 00 00 00.000 (изм.1/1) |
Блок пружинный |
1 |
|
38 |
РУ-60 00 00 003 К (изм.1) |
Стойка |
1 |
|
39 |
М12х90.016 ГОСТ 7786-81 |
Болт |
2 |
|
40 |
М12.10.016 DIN 6927 |
Гайка с бортиком |
2 |
|
41 |
15070.СА.375-01-01-00 Bellota |
Лапа 375 |
1 |
| Наименование | Обозначение /(№ изм. КД) | Примечание |
|---|---|---|
| Блок пружинный БП-53 | БП-53 00 00 00.000 (изм.1/1) | позиция 2 |
| № пп | Обозначение /(№ изм. КД) | Наименование |
Кол-во |
|---|---|---|---|
|
2 |
БП-53 00 00.000 изм.1/1 |
Блок пружинный |
1 |
|
3 |
БП-53 01 00.000 изм.1/1 |
Корпус |
1 |
|
10 |
М20-6gх70.129.35.016 ГОСТ 7798-70 |
Болт |
4 |
|
11 |
БП-53.00.00.001 |
Ось |
1 |
|
12 |
БП-53.00.00.002 |
Ось |
1 |
|
13 |
С.16.05.016 ГОСТ11371-78 |
Шайба |
4 |
|
14 |
С-100х140х1800.001-02 |
Скоба |
1 |
|
15 |
С.20.05.016 ГОСТ11371-78 |
Шайба |
4 |
|
16 |
20Т 65Г 016 ГОСТ 6402-07 |
Шайба |
4 |
|
17 |
М16-6gх90.129.35.016 ГОСТ 11738-84 |
Винт |
1 |
|
18 |
Г-М30х2.03 |
Гайка специальная |
1 |
|
19 |
М12-6gх90.129.35.016 ГОСТ 11738-84 |
Винт |
1 |
|
20 |
М16.10.016 DIN 985 |
Гайка |
3 |
|
21 |
Б-М16х75.01 |
Болт специальный |
2 |
|
22 |
1.2.Ц6 ГОСТ 19853-74 |
Масленка |
3 |
|
23 |
БП-53.02.00.000 |
Прижим в сборе |
1 |
|
27 |
БП-53.02.00.001 |
Прижим в сборе |
1 |
|
31 |
БП-53 03 00 00.000 |
Узел пружинный |
1 |
|
37 |
М12.10.016 DIN 985 |
Гайка |
1 |
| Наименование | Обозначение /(№ изм. КД) | Примечание |
|---|---|---|
| Узел пружинный БП-53 | БП-53 03 00 00.000 | позиция 31 |
| № пп | Обозначение /(№ изм. КД) | Наименование |
Кол-во |
|---|---|---|---|
|
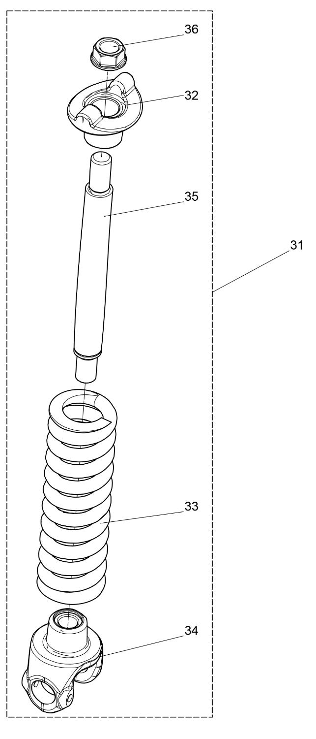
31 |
БП-53 03 00.000 |
Узел пружинный |
1 |
|
32 |
БП-53 03 00.002 |
Упор |
1 |
|
33 |
ПР-100х370х20.01 |
Пружина |
1 |
|
34 |
БП-53.03.00.003 |
Вилка |
1 |
|
35 |
БП-53.03.00.001 |
Ось пружины |
1 |
|
36 |
Г-М30х2.02 |
Гайка специальная |
1 |
| Наименование | Обозначение /(№ изм. КД) | Примечание |
|---|---|---|
| Прижим в сборе | БП-53 02 00 00.000-01 | позиция 23 и 27 |
| № пп | Обозначение /(№ изм. КД) | Наименование |
Кол-во |
|---|---|---|---|
|
23 |
БП-53 02 00.000 |
Прижим в сборе |
1 |
|
24 |
БП-53 02 00.001 |
Прижим |
1 |
|
25 |
EGP0 50х40х30-С |
Втулка |
1 |
|
26 |
EGP0 55х45х60-С |
Втулка |
1 |
|
27 |
БП-53 02 00.000-01 |
Прижим в сборе |
1 |
|
28 |
БП-53 02 00.001-01 |
Прижим |
1 |
|
25 |
EGP0 50х40х30-С |
Втулка |
1 |
|
26 |
EGP0 55х45х60-С |
Втулка |
1 |



